![]() |
||||||||
|
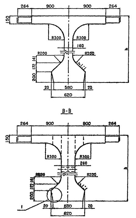
Двутавровые балки с расчетной нагрузкой А11 + НК80 (серия 3.503.1-81 ) |
||||||||
|
Марка |
L |
B |
H |
Класс бетона |
F |
W |
Vm3 |
|
|
Б33.180.153-Т |
33000 |
1800 |
1530 |
B40 |
200 |
6 |
24,28 |
|
|
Б33.194.153-Т |
33000 |
1940 |
1530 |
B40 |
200 |
6 |
25,12 |
|
|
Б2100.180.120-Т |
21000 |
1800 |
1200 |
B35 |
200 |
6 |
12,89 |
|
|
Б2100.194.120-Т |
21000 |
1940 |
1200 |
B35 |
200 |
6 |
13,32 |
|
|
Б1800.180.120-Т |
18000 |
1800 |
1200 |
B35 |
200 |
6 |
11,10 |
|
|
Б1800.194.120-Т |
18000 |
1940 |
1200 |
B35 |
200 |
6 |
11,45 |
|
