143987, Россия, Московская область, город Балашиха, мкр. Железнодорожный, ул. Советская, д. 46, офис 201
Войти
Слоган
8-800-100-53-12
8-800-100-53-12
143987, Россия, Московская область, город Балашиха, мкр. Железнодорожный, ул. Советская, д. 46, офис 201
Заказать звонок

Двутавровые балки с расчетной нагрузкой А11 + НК80 (серия 3.503.1-81 )

Двутавровые балки с расчетной нагрузкой А11 + НК80 (серия 3.503.1-81 )
Двутавровые балки с расчетной нагрузкой А11 + НК80 (серия 3.503.1-81 )
Нет в наличии
Уточнить цену
Двутавровые балки с расчетной нагрузкой А11 + НК80 (серия 3.503.1-81 )
Уточнить цену
Артикул:
Нет в наличии
Уточнить цену
Описание

Двутавровые балки с расчетной нагрузкой А11 + НК80 (серия 3.503.1-81 )

Марка

L

B

H

Класс бетона

F

W

Vm3

Б33.180.153-Т
ВII АIII-I (2-7)

33000

1800

1530

B40

200
300

6

24,28

Б33.194.153-Т
ВII АIII-I (2-7)

33000

1940

1530

B40

200
300

6

25,12

Б2100.180.120-Т
ВII АIII-I (2-7)

21000

1800

1200

B35

200
300

6

12,89

Б2100.194.120-Т
ВII АIII-I (2-7)

21000

1940

1200

B35

200
300

6

13,32

Б1800.180.120-Т
ВII АIII-I (2-7)

18000

1800

1200

B35

200
300

6

11,10

Б1800.194.120-Т
ВII АIII-I (2-7)

18000

1940

1200

B35

200
300

6

11,45

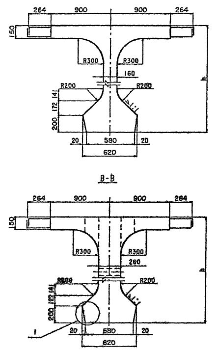
Первая буква маркировки «Б» — означает балочный тип конструкции;
Последующие три цифры — длину, ширину и высоту балки в сантиметрах;
«Т» — температурная зона;
Индексы «В» и «А» — это классы соответственно напрягаемой и ненапрягаемой арматуры;
Последняя цифра — наличие и положение закладных элементов

Задача строительства мостов всегда шла по пути унификации. Другого пути повышения экономичности проектных работ без усложнения монтажных работ пока не придумали. Типовые проекты разрезных железобетонных пролетов разработаны ещё в Советское время институтом «Союздорпроект». Им было унифицировано от рецептуры бетонов и геометрических размеров элементов до арматурных каркасов и водоотводных частей. Типовые проекты были подготовлены под различные назначения мостов и учитывали как статическую схему, так и материал возведения.

Не удивительно, что железобетонные заводы, организованные по всей стране примерно в тех же годах, взяли в производство именно «Союздорпроектовскую» линейку двутавровых мостовых балок, как самую исчерпывающую. За прошедшие десятилетия проектные нормы изменились до неузнаваемости, но по-прежнему нынешние наследники железобетонных пролетов двутаврового сечения формируются с натяжением на упоры. Отличия в полностью роботизированном процессе, который ликвидирует человеческий фактор в наиболее критичных операциях натяжения арматуры. А реализация программной подготовки бетонной смеси с автоматическими дозаторными линиями привела к повышению качества балок при одновременном снижении цен.

Наша компания предлагает двутавровые элементы железобетонных мостовых конструкций с качеством ИСО 9000:2000 / ИСО 9001-2001 и оптимальными стоимостными показателями.

Качество поставляемой продукции выражается, например, в ограничении использования импортных сталей в силу ответственности конструкций. Уровень входного контроля не допускает в процессы армирования импортной продукции независимо от наличия сертификатов. Допускаются лишь образцы сталей, прошедших приемочную проверку с механическим испытанием, оценкой эффективности профиля и проверкой свариваемости. Причем, для мостовых балок в северном исполнении (выше третьей зоны), применение импортных сталей исключается категорически.

Все мостовые балки изготавливаются в режиме форсированной тепловой пропарки на стендах с применением пучковой арматуры, натягиваемой на упоры перед бетонированием.
Отзывы
Нужна консультация?
Подробно расскажем о наших услугах, видах работ и типовых проектах, рассчитаем стоимость и подготовим индивидуальное предложение!
Задать вопрос
Двутавровые балки с расчетной нагрузкой А11 + НК80 (серия 3.503.1-81 )

Оставьте заявку прямо сейчас !
Наш менеджер свяжется с вами в ближайшее время для уточнения деталей заказа и ответит на все ваши вопросы.
Заказать !